✨Cờ lê, mỏ lết, búa các loại
Cờ lê, mỏ lết, búa các loại
Bộ cờ lê hai đầu miệng hệ mm, 12 chi tiết Ega Master 69795 Size: 6-7, 8-9, 10-11, 12-13, 14-15, 16-17, 18-19, 20-22, 21-23, 24-27, 25-28, 30-32mm Bộ cờ lê hai đầu miệng 12 chi
Cờ lê hai đầu miệng 27-29mm Ega Master 61712 Được sản xuất bằng thép hợp kim với crôm vanadi (Cr-V), và trải qua các thử nghiệm nghiêm ngặt để đáp ứng tiêu chuẩn DIN 3110.
Mỏ lết 6 inch phủ Titacrom Ega Master 61110 Chiều dài mỏ lết: 150 mm Độ mở: 19 mm Trọng lượng: 150 gram Thân mỏ lết được rèn gia công cứng cáp. Mỏ lết được
Cờ lê móc tròn 30-32 mm Ega Master 58103 Kích thước hệ mét: 30-32 mm Kích thước hệ inch: 1.3/16-1.1/4" Chiều dài: 135 mm Vật liệu: CR-V Trọng lượng: 50 gram Đạt tiêu chuẩn Châu
Cờ lê móc vuông 40 - 42 mm Ega Master 68288 - Kích thước hệ mét: 40-42 mm - Kích thước hệ inch: 1.9/16-1.21/32" - Chiều dài: 150 mm - Vật liệu: CR-V - Trọng
Mỏ lết chống cháy nổ 300mm Ega Master 35753 Mỏ lết chống cháy nổ 300mm Ega Master 35753 được chế tạo bằng hợp kim đồng (Al-Bron), tuyệt đối không phát tia lửa khi va chạm.
Cờ lê vòng đóng 30 mm Ega Master 60883 - Độ mở: 30 mm - Chiều dài cờ lê: 185 mm - Trọng lượng: 400 gram - Đạt tiêu chuẩn DIN 7444 - Cờ lê
Búa cao su giảm chấn 3 Lb Ega Master 69752 - Búa được làm bằng nhựa đặc biệt và nhựa PVC trộn với nhau. - Đầu búa được gia công đặc biệt, bên trong đầu
Cờ lê vòng miệng tự động 13 mm Ega Master 62656 Loại lật đảo chiều còn cách gọi khác là cờ lê lắc tay loại thẳng. Tức là đầu vòng không bị bẻ cong, ứng
Cờ lê miệng 8 mm cách điện 1000V Ega Master 73062 - Size của cờ lê: 8 mm - Chiều dài: 105 mm - Trọng lượng: 20 gram - Làm bằng vật liệu thép Cr-V
Cờ lê vòng miệng 8 mm Ega Master 61727 - Cờ lê vòng miệng là loại thông dụng nhất trong tất cả các loại cờ lê. Ngàm nghiêng so với thân 1 góc 15 độ.
Mỏ lết 15 inch phủ Titacrom Ega Master 61114 Thông số kỹ thuật của mỏ lết 15 inch Chiều dài mỏ lết: 380 mm Độ mở: 45 mm Mỏ lết sản xuất bằng thép đặc
Cờ lê móc vuông điều chỉnh 19-50 mm Ega Master 67981 Thông số kỹ thuật Cờ lê móc vuông điều chỉnh 19-50 mm 67981 Ega Master - Kích thước hệ mét: 19-50 mm - Kích
Cờ lê móc tròn điều chỉnh 15 - 35 mm Ega Master 58120 Thông số kỹ thuật Cờ lê móc tròn điều chỉnh 15 - 35 mm Ega Master 58120 - Kích thước hệ mét:
Cờ lê móc tròn điều chỉnh 50 - 80 mm Ega Master 58122 Thông số kỹ thuật Cờ lê móc vuông điều chỉnh 50 - 80 mm Ega Master 58122 - Kích thước hệ mét:
Đặc tính kỹ thuật Búa lục giác chống cháy nổ 2 kg Ega Master 71759 - Vật liệu: Al-Bron - Kiểu búa: Sledge - Cán búa: Bằng sợi thủy tinh chống va đập - Chiều dài
Bộ cờ lê vòng miệng Tramontina 41128208 là bộ sản phẩm gồm 8 chi tiết với các kích thước đa dạng, đáp ứng nhiều công việc vặn siết, tháo lắp bu lông, ốc vít trong sữa
Bộ cờ lê khuỷu cao Tramontina 42021208 là bộ sản phẩm gồm 8 chi tiết với các kích thước đa dạng, đáp ứng nhiều công việc vặn siết, tháo lắp đai ốc, trong sửa chữa
Cờ lê móc đầu vuông Tramontina 44600108 là sản phẩm chất lượng cao được sử dụng tốt trong việc xiết chặt và tháo rời bu lông, đai ốc cho các rãnh, lỗ tròn. Ứng dụng
1. Thiết kế của cờ lê vòng cách điện Tramontina 44322008 Cờ lê vòng cách điện Tramontina 44322008 được thiết kế nhỏ gọn, trọng lượng nhẹ, không chiếm nhiều diện tích, dễ dàng cho việc
1. Thiết kế của cờ lê vòng cách điện Tramontina 44322010 Cờ lê vòng cách điện Tramontina 44322010 được thiết kế nhỏ gọn, trọng lượng nhẹ, không chiếm nhiều diện tích, dễ dàng cho việc
1. Thiết kế của cờ lê vòng cách điện Tramontina 44322012 Cờ lê vòng cách điện Tramontina 44322012 được thiết kế nhỏ gọn, trọng lượng nhẹ, không chiếm nhiều diện tích, dễ dàng cho việc
1. Thiết kế của cờ lê bánh cóc lắc tay Tramontina 44653114 Cờ lê bánh cóc lắc tay Tramontina 44653114 được thiết kế nhỏ gọn, trọng lượng nhẹ, không chiếm nhiều diện tích, dễ dàng
1. Thiết kế của cờ lê bánh cóc lắc tay Tramontina 44653117 Cờ lê bánh cóc lắc tay Tramontina 44653117 được thiết kế nhỏ gọn, trọng lượng nhẹ, không chiếm nhiều diện tích, dễ dàng
Cờ lê hai đầu miệng 24-26mm Được sản xuất bằng thép hợp kim với crôm vanadi (Cr-V), và trải qua các thử nghiệm nghiêm ngặt để đáp ứng tiêu chuẩn DIN 3110. Dễ dàng siết
Cờ lê móc tròn 68-75 mm 58109 Ega Master Kích thước hệ mét: 68-75 mm Kích thước hệ inch: 2.11/16-3" Chiều dài: 240 mm Tiêu chuẩn: DIN 1810 Vật liệu: CR-V Trọng lượng: 280 gram
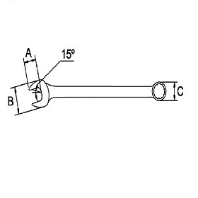
Cờ lê miệng đóng 65mm Ega Master 60927 Thiết kế dễ nhận biết với một đầu miệng( mở), đầu chuôi dạng dẹt dùng để đóng với búa. Miệng nghiêng 15 độ so với thân. Cờ
'Bộ cờ lê 2 đầu vòng khuỷu cao 8 chi tiết Tramontina 44630208 Bộ cờ lê 2 đầu vòng khuỷu cao 8 chi tiết Tramontina 44630208 được sản xuất bằng thép hợp kim với crôm
Đuôi chuột 10 và 12 Được làm từ thép cao cấp Cần siết đuôi chuột 10 và 12 Thông số kỹ thuật: Chế tạo thép cao cấp Bộ phận bánh răng chế tạo thép cao
Túi đựng cờ lê 6 chi tiết Ega master 90080 Để đựng cờ lê hoặc dụng cụ cầm tay thông thường Thiết kế di động, dễ mang theo; vải bạt chất lượng cao, bền. Dây
Bộ cờ lê khuỷu cao 12 chi tiết hệ inch Ega Master 69323 Size: 1/4-5/16, 5/16-3/8, 3/8-7/16, 1/2-9/16, 9/16-5/8, 5/8-11/16, 3/4-7/8, 13/16-7/8, 15/16-1, 1-1.1/8, 1.1/16-1.1/8, 1.1/16-1.1/4" Cờ lê vòng miệng thuộc loại khuỷu cao ,
Cờ lê vòng miệng 16mm Ega Master 61735 Được sản xuất bằng thép hợp kim với crôm vanadi (Cr-V), và trải qua các thử nghiệm nghiêm ngặt để đáp ứng tiêu chuẩn DIN 3113. Dễ
Mỏ lết 10 inch phủ Titacrom Ega Master 61112 Chiều dài mỏ lết: 250 mm Độ mở: 29 mm Trọng lượng: 500 gram Mỏ lết sản xuất bằng thép đặc biệt Thân mỏ lết được
Cờ lê móc vuông 25-28 mm Ega Master 68285 - Kích thước hệ mét: 25-28 mm - Kích thước hệ inch: 1-1.1/8" - Chiều dài: 120 mm - Vật liệu: CR-V - Trọng lượng: 40
Cờ lê móc vuông 30-32 mm Ega Master 68286 - Kích thước hệ mét: 30-32 mm - Kích thước hệ inch: 1.3/16-1.1/4" - Chiều dài: 120 mm - Vật liệu: CR-V - Trọng lượng: 60
Stanley được biết đến là thương hiệu cung cấp dụng cụ cầm tay nổi tiếng đến từ Mỹ. Với lịch sử phát triển lâu đời, chất lượng sản phẩm tốt, độ bền cao giúp sản
Stanley được biết đến là thương hiệu cung cấp dụng cụ cầm tay nổi tiếng đến từ Mỹ. Với lịch sử phát triển lâu đời, chất lượng sản phẩm tốt, độ bền cao giúp sản
Cờ lê vòng miệng 5.5 mm Ega Master 67881 - Cờ lê vòng miệng là loại thông dụng nhất trong tất cả các loại cờ lê. Ngàm nghiêng so với thân 1 góc 15 độ.
Thông số kỹ thuật Mỏ lết inox 10" Ega Master 38172 - Vật liệu inox 420 - Độ mở ngàm: 28 mm - Chiều dài: 250 mm - Trọng lượng: 445 gram - Độ cứng:
Cờ lê vòng miệng 30 mm Ega Master 61749 - Cờ lê vòng miệng là loại thông dụng nhất trong tất cả các loại cờ lê. Ngàm nghiêng so với thân 1 góc 15 độ. Đầu vòng
Thông số kỹ thuật Cờ lê vòng miệng bánh cóc 22mm tự động Ega Master 61543 - Cờ lê bánh cóc đáp ứng tiêu chuẩn: DIN 1711 - Vật liệu: Chrome Vanadium. - Cờ lê
Thông số kỹ thuật của Bộ cờ lê vòng miệng 17 chi tiết Bao gồm: 6,7,8,9,10,11,12,13,14,15,16,17,18,19,20,21,22mm - Bộ cờ lê vòng miệng 17 chi tiết, đạt tiêu chuẩn DIN 3113 - Cờ lê vòng miệng được tôi
Cờ lê thông dụng Eclipse – ADJW6S Các loại cờ lê thông dụng được làm bằng thép cứng cáp, có độ bền cao với thiết kế chuyên dụng cùng kích thước chuẩn, phù hợp với hầu hết các
Xuất xứ thương hiệu: Đức Sản xuất tại: Đức Mô tả sản phẩm: - Kích thước: 17mm x 224mm - Hệ : mét - Chức năng giữ ốc vít. - Giới hạn dừng an toàn khi
Là một sản phẩm dụng cụ cầm tay cao cấp không thể thiếu trong các ngành nghề cơ khí, sửa chữa xe cộ, máy móc. Được hãng Asakichế tạo theo dây chuyền hiện đại và
Xuất xứ thương hiệu: Đức Sản xuất tại: Cộng hòa Séc. Mô tả sản phẩm: - Kích thước: 12mm x 170.7mm - Mọi thứ bạn cần cho cờ lê tròng cơ cấu bánh cóc được
Một số dụng cụ, đồ nghề cầm tay hiện nay có vai trò quan trọng trong cuộc sống, thường được sử dụng để sửa chữa lắp ráp ở trong gia đình và nhiều ngàng nghề
- Ngoài ra cảm ứng cứng hàm chính xác. - Được làm bằng thép Chrome Vanadi được xử lý nhiệt cho sức mạnh vượt quá thông số kỹ thuật quốc tế. - Mạ chuyên nghiệp
Búa tạ cán gỗ Eclipse SJ-MCH40 1.2kg Hoàn hảo để mang lại những cú đóng nhanh và mạnh mẽ. Thích hợp để làm ra các dụng cụ cứng khác như chạm trổ lạnh nhờ đầu
Retta là 1 công ty sản xuất dụng cụ - thiết bị cầm tay chuyên dụng cho lĩnh vực dụng cụ cơ khí, điện và ô tô, bắt đầu hoạt động mở rộng dịch vụ
Xuất xứ thương hiệu: Đức Sản xuất tại: Cộng Hòa Séc Mô tả sản phẩm: - Bộ gồm 05 cái đặc biệt phù hợp sử dụng trong không gian hạn chế. - Thiết kế vòng miệng cờ
Mỏ lết vặn ống nhanh 12 inch Eclipse EQAPW12 Mang đến sự tiện lợi của cờ lê ống truyền thống với lợi ích bổ sung là điều chỉnh bằng một tay nhanh chóng và dễ
- Quy cách: 40mm - Búa gồm 1 đầu nhựa và 1 đầu cao su
Thông tin sản phẩm: - Màu sắc: Xám - Thương hiệu: Eclipse - Vật liệu: Kim loại - Chiều dài: 25,4 cm - Trọng lượng sản phẩm: 0,52 kg Đặc điểm: - Lý tưởng để
Giấy chứng nhận Nhà Phân phối:
Giấy chứng nhận Nhà Phân phối:
Giấy chứng nhận Nhà Phân phối:
Giấy chứng nhận Nhà Phân phối:
Giấy chứng nhận Nhà Phân phối:
👁️ 530 | ⌚2025-09-17 11:16:07.257


UY TÍN - CHẤT LƯỢNG - GIÁ RẺ ĐẢM BẢO CHẤT LƯỢNG TỐT NHẤT ĐẾN TAY NGƯỜI DÙNG Cờ lê mỏ lết chuyên dụng vặn dây cấp vặn vừa tất cả các ốc dây cấp
UY TÍN - CHẤT LƯỢNG - GIÁ RẺ ĐẢM BẢO CHẤT LƯỢNG TỐT NHẤT ĐẾN TAY NGƯỜI DÙNG Cờ lê mỏ lết chuyên dụng vặn dây cấp vặn vừa tất cả các ốc dây cấp
*** Hãy nhấn theo dõi . yêu thích và đánh giá sản phẩm của shop bạn sẽ nhận được mã giảm giá SHOP CHUYÊN BÁN BUÔN SỈ , LẺ TOÀN QUỐC ✓ HÀNG THẬT NHƯ
- Trọng lượng: 8oz (226g) - Đầu búa giống đầu búa nhổ đinh 8oz - Đầu được đúc rèn nguyên khối - Kiểu dáng tay cầm Total
DUNG CỤ VẶN VÒI DÂY CẤP NƯỚC ĐA NĂNG PHIÊN BẢN 3 ĐẦU - MẪU MỚI 2020 + Chất liệu : Đầu vặn bằng hợp kim nhôm, thân nhựa cao cấp + Là Cờ lê
Mô tả: Chất lượng cao , hàng mới 100% Thiết kế khe mở cho phép dễ dàng thao tác trên các đường cung cấp hiện có. Hỗ trợ giữ đinh tán đứng yên tại chỗ
Thương hiệu đồ nghề và máy móc Total ngày càng khẳng định vị thế của mình trên thị trường, cạnh tranh thị phần với những nhãn hiệu có danh tiếng xưa giờ luôn. Total sẽ
Thương hiệu đồ nghề và máy móc Total ngày càng khẳng định vị thế của mình trên thị trường, cạnh tranh thị phần với những nhãn hiệu có danh tiếng xưa giờ luôn. Total sẽ
Thương hiệu đồ nghề và máy móc Total ngày càng khẳng định vị thế của mình trên thị trường, cạnh tranh thị phần với những nhãn hiệu có danh tiếng xưa giờ luôn. Total sẽ
Thương hiệu đồ nghề và máy móc Total ngày càng khẳng định vị thế của mình trên thị trường, cạnh tranh thị phần với những nhãn hiệu có danh tiếng xưa giờ luôn. Total sẽ
Thương hiệu đồ nghề và máy móc Total ngày càng khẳng định vị thế của mình trên thị trường, cạnh tranh thị phần với những nhãn hiệu có danh tiếng xưa giờ luôn. Total sẽ
Thương hiệu đồ nghề và máy móc Total ngày càng khẳng định vị thế của mình trên thị trường, cạnh tranh thị phần với những nhãn hiệu có danh tiếng xưa giờ luôn. Total sẽ
Thương hiệu đồ nghề và máy móc Total ngày càng khẳng định vị thế của mình trên thị trường, cạnh tranh thị phần với những nhãn hiệu có danh tiếng xưa giờ luôn. Total sẽ
Thương hiệu đồ nghề và máy móc Total ngày càng khẳng định vị thế của mình trên thị trường, cạnh tranh thị phần với những nhãn hiệu có danh tiếng xưa giờ luôn. Total sẽ
Thương hiệu đồ nghề và máy móc Total ngày càng khẳng định vị thế của mình trên thị trường, cạnh tranh thị phần với những nhãn hiệu có danh tiếng xưa giờ luôn. Total sẽ
Thương hiệu đồ nghề và máy móc Total ngày càng khẳng định vị thế của mình trên thị trường, cạnh tranh thị phần với những nhãn hiệu có danh tiếng xưa giờ luôn. Total sẽ
Total là thương hiệu có nguồn gốc từ Đức, nhà máy sản xuất được đặt tại Trung Quốc theo các tiêu chuẩn chất lượng của Mỹ, Châu Âu nên sản phẩm của Total vừa đảm
Total là thương hiệu có nguồn gốc từ Đức, nhà máy sản xuất được đặt tại Trung Quốc theo các tiêu chuẩn chất lượng của Mỹ, Châu Âu nên sản phẩm của Total vừa đảm
Thương hiệu đồ nghề và máy móc Total ngày càng khẳng định vị thế của mình trên thị trường, cạnh tranh thị phần với những nhãn hiệu có danh tiếng xưa giờ luôn. Total sẽ
Thương hiệu đồ nghề và máy móc Total ngày càng khẳng định vị thế của mình trên thị trường, cạnh tranh thị phần với những nhãn hiệu có danh tiếng xưa giờ luôn. Total sẽ
Thương hiệu đồ nghề và máy móc Total ngày càng khẳng định vị thế của mình trên thị trường, cạnh tranh thị phần với những nhãn hiệu có danh tiếng xưa giờ luôn. Total sẽ
Thương hiệu đồ nghề và máy móc Total ngày càng khẳng định vị thế của mình trên thị trường, cạnh tranh thị phần với những nhãn hiệu có danh tiếng xưa giờ luôn. Total sẽ
Thương hiệu đồ nghề và máy móc Total ngày càng khẳng định vị thế của mình trên thị trường, cạnh tranh thị phần với những nhãn hiệu có danh tiếng xưa giờ luôn. Total sẽ
Thương hiệu đồ nghề và máy móc Total ngày càng khẳng định vị thế của mình trên thị trường, cạnh tranh thị phần với những nhãn hiệu có danh tiếng xưa giờ luôn. Total sẽ
Thương hiệu đồ nghề và máy móc Total ngày càng khẳng định vị thế của mình trên thị trường, cạnh tranh thị phần với những nhãn hiệu có danh tiếng xưa giờ luôn. Total sẽ
Thương hiệu đồ nghề và máy móc Total ngày càng khẳng định vị thế của mình trên thị trường, cạnh tranh thị phần với những nhãn hiệu có danh tiếng xưa giờ luôn. Total sẽ
Cờ lê vòng đóng 60mm Ega Master 60891 Thiết kế dễ nhận biết với một đầu vòng, đầu chuôi dạng dẹt dùng để đóng với búa. Cờ lê siêu bền, chịu lực đóng lớn nhờ
Cờ lê vòng đóng 24 mm Ega Master 60881 - Kích thước: 24 mm - Chiều dài cờ lê: 165 mm - Trọng lượng: 0.2 Kg - Vật liệu: Thép đặc biệt - Độ cứng:
Cờ lê vòng đóng 32 mm Ega Master 60884 - Độ mở: 32 mm - Chiều dài cờ lê: 185 mm - Trọng lượng: 500 gram - Đạt tiêu chuẩn DIN 7444 - Cờ lê
Cờ lê vòng đóng 31 mm Ega Master 67320 - Độ mở: 31 mm - Chiều dài cờ lê: 185 mm - Trọng lượng: 500 gram - Đạt tiêu chuẩn DIN 7444 - Cờ lê
Cờ lê vòng đóng 42mm Ega Master 60887 Thiết kế dễ nhận biết với một đầu vòng, đầu chuôi dạng dẹt dùng để đóng với búa. Cờ lê siêu bền, chịu lực đóng lớn nhờ
Chi Tiết Kỹ Thuật: · Kìm Cờ lê, thay thế trọn bộ Bộ cờ lê đơn truyền thống · 13 điểm răng trượt, mở được ốc lục giác hệ mét và hệ inch dưới 35mm
Thương hiệu đồ nghề và máy móc Total ngày càng khẳng định vị thế của mình trên thị trường, cạnh tranh thị phần với những nhãn hiệu có danh tiếng xưa giờ luôn. Total sẽ
Thương hiệu đồ nghề và máy móc Total ngày càng khẳng định vị thế của mình trên thị trường, cạnh tranh thị phần với những nhãn hiệu có danh tiếng xưa giờ luôn. Total sẽ
Thương hiệu đồ nghề và máy móc Total ngày càng khẳng định vị thế của mình trên thị trường, cạnh tranh thị phần với những nhãn hiệu có danh tiếng xưa giờ luôn. Total sẽ
Mỏ lết 10''/250mm Stanley STMT87433-8 được ứng dụng trong việc tháo, lắp, sửa chữa mọi vật dụng, máy móc. Với chốt vặn điều chỉnh để có thể nới độ rộng, hẹp tùy theo kích cỡ
Thương hiệu đồ nghề và máy móc Total ngày càng khẳng định vị thế của mình trên thị trường, cạnh tranh thị phần với những nhãn hiệu có danh tiếng xưa giờ luôn. Total sẽ
Thương hiệu đồ nghề và máy móc Total ngày càng khẳng định vị thế của mình trên thị trường, cạnh tranh thị phần với những nhãn hiệu có danh tiếng xưa giờ luôn. Total sẽ
Thương hiệu đồ nghề và máy móc Total ngày càng khẳng định vị thế của mình trên thị trường, cạnh tranh thị phần với những nhãn hiệu có danh tiếng xưa giờ luôn. Total sẽ
Thương hiệu đồ nghề và máy móc Total ngày càng khẳng định vị thế của mình trên thị trường, cạnh tranh thị phần với những nhãn hiệu có danh tiếng xưa giờ luôn. Total sẽ
Thương hiệu đồ nghề và máy móc Total ngày càng khẳng định vị thế của mình trên thị trường, cạnh tranh thị phần với những nhãn hiệu có danh tiếng xưa giờ luôn. Total sẽ
Thương hiệu đồ nghề và máy móc Total ngày càng khẳng định vị thế của mình trên thị trường, cạnh tranh thị phần với những nhãn hiệu có danh tiếng xưa giờ luôn. Total sẽ
Thương hiệu đồ nghề và máy móc Total ngày càng khẳng định vị thế của mình trên thị trường, cạnh tranh thị phần với những nhãn hiệu có danh tiếng xưa giờ luôn. Total sẽ
Thương hiệu đồ nghề và máy móc Total ngày càng khẳng định vị thế của mình trên thị trường, cạnh tranh thị phần với những nhãn hiệu có danh tiếng xưa giờ luôn. Total sẽ
Thương hiệu đồ nghề và máy móc Total ngày càng khẳng định vị thế của mình trên thị trường, cạnh tranh thị phần với những nhãn hiệu có danh tiếng xưa giờ luôn. Total sẽ